Goodyear Air Spring - 1R13-119 - Dayton Air Suspension

Goodyear Air Spring - 1R13-119

Vendor: Goodyear

Part #: K868286

Inventory: 0 in stock

Regular price $269.66 $171.00

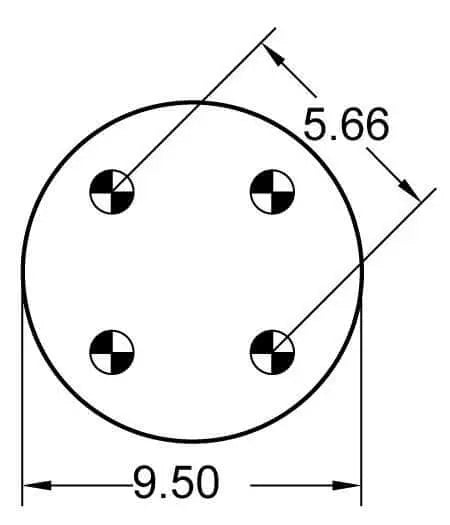
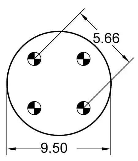
Goodyear Super-Cushion Rolling Lobe Air Spring 1R13-119

Bellows: 566-26-3-098

Manufacturer Numbers:

CONTI:
64287
910-13.5 S433
FIRESTONE:
W013589270
FLEETRITE:
1R13-248
HENDRICKSON:
C-20010
S-20010
SPRINGRIDE:
1R13-259
TRP:
AS92700

Sale - Last Two at this Price